Potência de saída: 1mW
Size:13,5*22,2
O UWB3000F00-X1 adota a série DW3000 IC da Qorvo, um CI transceptor ultralargo (UWB) de chip único totalmente integrado, de baixo consumo de energia e baixo custo, em conformidade com o protocolo padrão IEEE 802.15.4-2020. Pode ser usado em sistemas de alcance bidirecional e TDoA, oferecendo uma precisão de posicionamento de 10 centímetros.
Parâmetro | Doença | Mín. | Tipo. | Máx. | Unidade |
Tensão de alimentação | 2.4 | 3.3 | 3.6 | V | |
Faixa de temperatura operacional | - 40 | 25 | 85 | °C | |
Faixa de frequência | CH5 | 6489,6 | MHz | ||
CH9 | 7987,2 | MHz | |||
Taxa de dados | 850 mil | 6,8 milhões | bps | ||
Consumo atual | |||||
Corrente do sono | <1 | você A | |||
Corrente de recepção contínua | 72 | mA | |||
Corrente de transmissão contínua (pacote de dados) | 67 | m A | |||
Corrente de alcance | Corrente média | 21 | mA | ||
Corrente de pico | 72 | mA | |||
Parâmetro RF r | |||||
Tx Power | @VCC= 3,3 V | -30 | 0 | dBm | |
Largura de banda Tx ( BW) | 499,2 | MHz | |||
Parâmetros de recebimento | |||||
Sensibilidade Rx | @850 Kbps | - 100 | dBm | ||
@6,8 Mbps | -94 | dBm | |||
Suporta CH5 e CH9 (6489,6 MHz e 7987,2 MHz)
Taxas de dados de 850 Kpbs e 6,8 Mbps
Comprimento do pacote de até 1023 bytes
Suporta esquemas de posicionamento TDoA e alcance bidirecional
Potência de transmissão programável
Localização de ativos com precisão de 10 cm
Posicionamento de pessoal na produção industrial em larga escala
Vários cenários de posicionamento interno
Posicionamento de mina subterrânea de carvão
Posicionamento da equipe do hospital


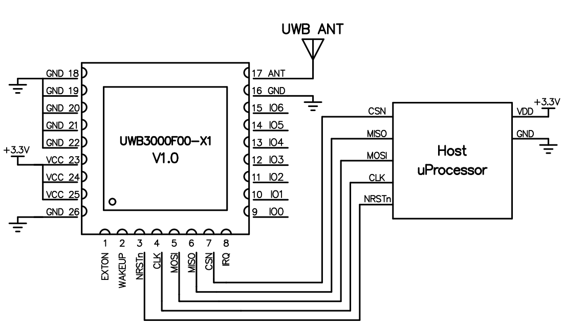
PIN nº. | Definição de PIN | E/S | Descrição |
1 | EXTON | FAZER | Habilitação de dispositivo externo. Ativado durante o despertar e permanece ativo até que o dispositivo entre no modo de hibernação. Pode ser usado para controlar um conversor CC-CC externo ou outros circuitos que não sejam necessários enquanto o dispositivo estiver no modo de hibernação, a fim de minimizar o consumo de energia. Para mais detalhes, consulte a ficha técnica do DW3000. |
2 | ACORDAR | DI | Quando definido em um nível alto válido, o pino WAKEUP tira o DW3000 do modo de suspensão ou DEEPSLEEP e o coloca no modo ativo. Se não for utilizado, este pino pode ser aterrado. |
3 | NRSTn | DIO | Pino de reinicialização. Saída ativa-baixa. Pode ser ajustado para baixo por um driver externo de dreno aberto para reinicializar o dispositivo. |
4 | CLK | DI | Relógio SPI |
5 | MOSI | DI | Entrada de dados SPI |
6 | MISSÔ | FAZER | Saída de dados SPI |
7 | CSN | DI | Seleção de chip SPI. Esta é uma entrada de habilitação ativa-baixa. Uma borda descendente no SPICSn indica o início de uma nova transação SPI. O SPICSn também pode servir como um sinal de ativação para tirar o DW3000 do modo de suspensão ou DEEPSLEEP. |
8 | IRQ | DI | Saída de solicitação de interrupção do DWM3000 para o processador host. Por padrão, a IRQ é uma saída ativa-alta, mas pode ser configurada como ativa-baixa, se necessário. Para operação correta nos modos SLEEP e DEEPSLEEP, ela deve ser configurada como ativa-alta. Este pino é flutuante durante os estados SLEEP e DEEPSLEEP e pode causar interrupções falsas, a menos que seja ajustado para um nível baixo. Se a função IRQ não for utilizada, este pino pode ser reconfigurado como E/S de uso geral (GPIO8). |
9 | GPIO0 | DIO | Pinos de E/S de uso geral — consulte a folha de dados do chip para obter detalhes |
10 | GPIO1 | DIO | Pino de E/S de uso geral, consulte a folha de dados do chip para obter detalhes . |
11 | GPIO2 | DIO | Pino de E/S de uso geral, consulte a folha de dados do chip para obter detalhes |
12 | GPIO3 | DIO | Pino de E/S de uso geral, consulte a folha de dados do chip para obter detalhes |
13 | GPIO4 | DIO | Pino de E/S de uso geral, consulte a folha de dados do chip para obter detalhes |
14 | GPIO5 | DIO | Pino de E/S de uso geral, consulte a folha de dados do chip para obter detalhes |
15 | GPIO6 | DIO | Pino de E/S de uso geral, consulte a folha de dados do chip para obter detalhes |
16,18,19, 20,21,22,26 | Terra | Conecte ao aterramento de energia (GND) | |
17 | FORMIGA | Conexão de antena externa de 50Ω | |
23,24,25 | VCC | Conecte ao terminal positivo da fonte de alimentação (2,4–3,6 V) |

política de Privacidade
· Política de Privacidade
No momento não há conteúdo disponível
E-mail: sales@nicerf.com
Tel:+86-755-23080616